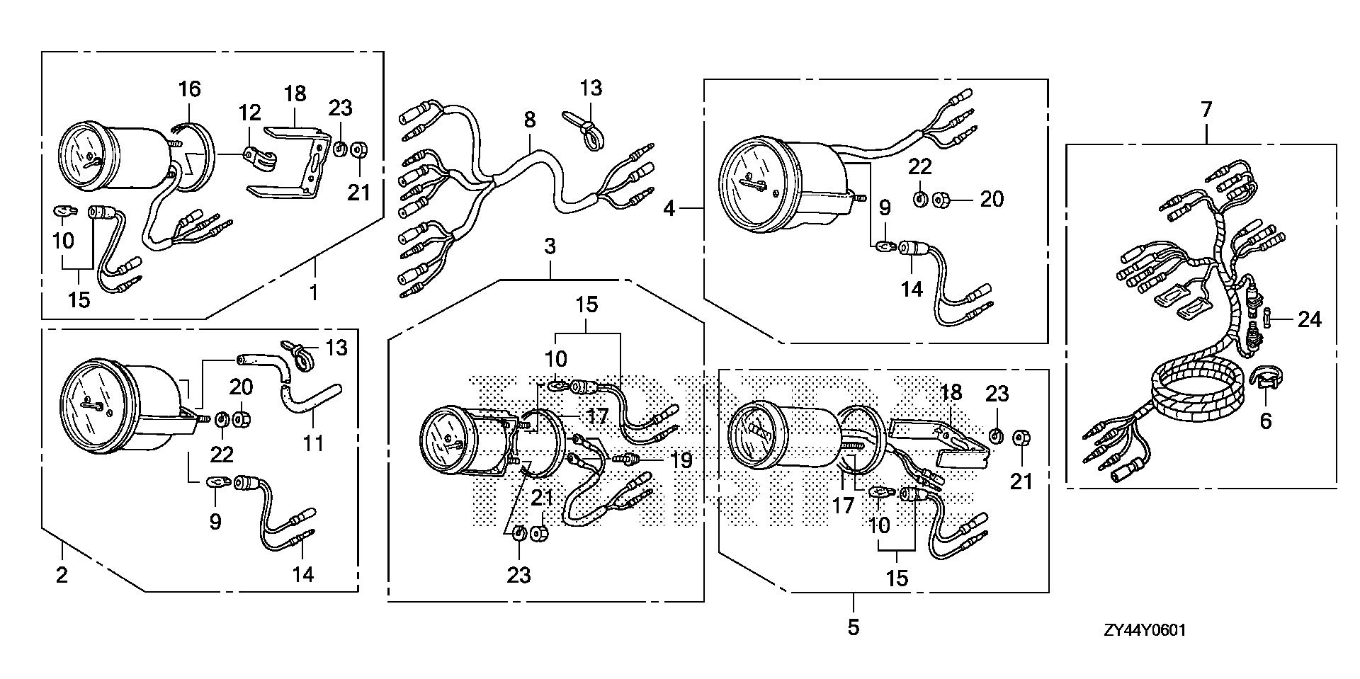
Mid - Large Outboard Engines (25 - 250hp) BF BF200 BF200AK1 XA BAEJ-1600001-1699999 METER (2) - Simply Outdoors

Ref No
Part Number
Description
Serial Range
Qty
Price

Ref No
1
Part Number
06372-ZW5-U01
Description
METER KIT, TRIM
Serial Range
1000001 - 9999999

Ref No
1
Part Number
06372-ZW5-U11
Description
METER KIT, TRIM (B)
Serial Range
1000001 - 9999999

Ref No
2
Part Number
06373-ZW5-U01
Description
SPEEDOMETER KIT
Serial Range
1000001 - 9999999
Qty
Price
$289.06

Ref No
2
Part Number
06373-ZW5-U11
Description
SPEEDOMETER KIT (B)
Serial Range
1000001 - 9999999
Qty
Price
$276.62

Ref No
3
Part Number
06374-ZW5-U00
Description
METER KIT, VOLT
Serial Range
1000001 - 9999999

Ref No
3
Part Number
06374-ZW5-U10
Description
METER KIT, VOLT (B)
Serial Range
1000001 - 9999999
Qty
Price
$57.08

Ref No
4
Part Number
06375-ZW5-U01
Description
METER KIT, TACHO
Serial Range
1000001 - 9999999
Qty
Price
$254.08

Ref No
4
Part Number
06375-ZW5-U11
Description
METER KIT, TACHO (B)
Serial Range
1000001 - 9999999
Qty
Price
$235.88

Ref No
5
Part Number
06397-ZW5-U00
Description
METER KIT, HOUR (NA USE ALT:39700-ZW5-000ZA)
Serial Range
1000001 - 9999999

Ref No
5
Part Number
06397-ZW5-U10
Description
METER KIT, HOUR (B) (NA USE ALT:39700-ZW5-000ZA)
Serial Range
1000001 - 9999999

Ref No
6
Part Number
32161-404-000
Description
BAND B1, WIRE
Serial Range
1000001 - 9999999
Qty
Price
$2.86

Ref No
7
Part Number
32540-ZZ3-010
Description
HARNESS ASSY., METER (A)
Serial Range
1000001 - 9999999
Qty
Price
$129.16

Ref No
8
Part Number
32550-ZW5-U00
Description
HARNESS ASSY., METER (B)
Serial Range
1000001 - 9999999
Qty
Price
$44.04

Ref No
9
Part Number
34908-MB9-871
Description
BULB, WEDGE BASE (T10) (12V 1.7W) (STANLEY)
Serial Range
1000001 - 9999999
Qty
Price
$3.56

Ref No
10
Part Number
34908-MG9-951
Description
BULB, WEDGE BASE (12V 1.7W)
Serial Range
1000001 - 9999999
Qty
Price
$2.98

Ref No
11
Part Number
37202-ZW5-U01
Description
TUBE, SPEED METER (4X7X8000)
Serial Range
1000001 - 9999999
Qty
Price
$41.18

Ref No
12
Part Number
37215-KM1-670
Description
CLAMP
Serial Range
1000001 - 9999999
Qty
Price
$2.40

Ref No
13
Part Number
37226-MZ5-008
Description
BAND, SELF-LOCK
Serial Range
1000001 - 9999999
Qty
Price
$3.80

Ref No
14
Part Number
37258-ZV5-U01
Description
SOCKET
Serial Range
1000001 - 9999999
Qty
Price
$17.54

Ref No
15
Part Number
37258-ZW5-U01
Description
SOCKET
Serial Range
1000001 - 9999999
Qty
Price
$17.54

Ref No
16
Part Number
37263-ZV5-821
Description
GASKET
Serial Range
1000001 - 9999999
Qty
Price
$4.58

Ref No
17
Part Number
37264-ZV5-821
Description
GASKET
Serial Range
1000001 - 9999999
Qty
Price
$3.68

Ref No
18
Part Number
37266-ZV5-821
Description
BRACKET
Serial Range
1000001 - 9999999
Qty
Price
$21.50

Ref No
19
Part Number
37305-KE5-008
Description
SCREW-WASHER (3X22)
Serial Range
1000001 - 9999999
Qty
Price
$3.52

Ref No
20
Part Number
90309-ZV5-821
Description
NUT, HEX. (5MM)
Serial Range
1000001 - 9999999
Qty
Price
$1.88

Ref No
21
Part Number
90310-ZV5-821
Description
NUT, HEX. (4MM)
Serial Range
1000001 - 9999999
Qty
Price
$1.68

Ref No
22
Part Number
90550-ZV5-821
Description
WASHER, SPRING (5MM)
Serial Range
1000001 - 9999999
Qty
Price
$1.58

Ref No
23
Part Number
90560-ZV5-821
Description
WASHER, SPRING (4MM)
Serial Range
1000001 - 9999999
Qty
Price
$1.66

Ref No
24
Part Number
98200-11000
Description
FUSE A (10A)
Serial Range
1000001 - 9999999
Qty
Price
$2.20